Для обеспечения соответствия всех компонентов техническим характеристикам и поддержания стабильных стандартов производительности выполняются точные замеры длины, диаметра, отверстия на плоском конце и положения поперечного штифта.
Плоский анкер с фиксирующим штифтом (Flat End Fixing Socket with Cross Pin) разработан для обеспечения надежной работы при подъеме сборных железобетонных конструкций. Конструкция со встроенным поперечным штифтом повышает стабильность нагрузки, обеспечивая высокий коэффициент безопасности, сокращенные циклы производства и коррозионностойкое покрытие. HULK Metal производит продукцию в соответствии со стандартами CE и ISO 9001, гарантируя стабильное качество и быструю доставку. Это идеальный выбор для ответственных строительных работ, требующих точности и надежности.
1.Продукция более высоких стандартов
2.Более короткий производственный цикл
3.Более высокая коррозионная стойкость
4.Больше вариантов способов доставки
5.Комплексное послепродажное обслуживание
Крепежное гнездо с плоским концом и поперечным штифтом от HULK Metal имеет прочную поперечную балку, повышающую устойчивость груза. Изготовленное в соответствии со стандартами CE и ISO 9001, оно обеспечивает исключительную прочность, коррозионную стойкость и надежность для различных задач подъема сборных железобетонных конструкций.
Наш крепежный кронштейн с плоским концом и поперечным штифтом доступен в различных размерах и с разной допустимой рабочей нагрузкой (SWL), что позволяет удовлетворить разнообразные потребности в подъеме грузов. Каждый размер тщательно спроектирован для оптимальной производительности и проверен в ходе строгих проверок качества. Независимо от того, используются ли тяжелые или стандартные сборные железобетонные элементы, вы можете положиться на точные технические характеристики, стабильные производственные допуски и проверенный коэффициент безопасности, обеспечивающие надежные результаты в каждом строительном проекте.
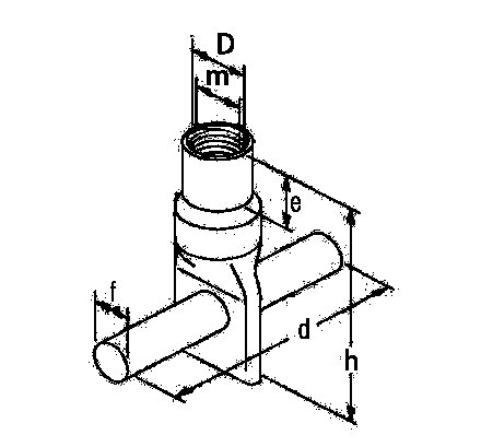
| Наименование | Анкерная гильза с плоским концом и поперечным штифтом | ||||||
| Чертежи | |||||||
| Материал | Нержавеющая сталь / Q345 / Q235 / 20# / Под заказ | ||||||
| Обработка поверхности | Без покрытия, электрогальваническое цинкование, горячее цинкование | ||||||
| Коэффициент запаса прочности | ≥ 3 | ||||||
| Сертификация | CE / ISO 9001 | ||||||
| РДН (тонн) | АРТИКУЛ | РЕЗЬБА(M) | L(мм) | d(мм) | h(мм) | e(мм) | f(мм) |
| 0.15 | FFSB-M06-035 | 6 | 35 | 50 | 35 | 6 | 6 |
| 0.20 | FFSB-M08-040 | 8 | 40 | 50 | 40 | 8 | 6 |
| 0.35 | FFSB-M10-050 | 10 | 50 | 50 | 50 | 10 | 6 |
| 0.50 | FFSB-M12-060 | 12 | 60 | 50 | 60 | 12 | 10 |
| 0.65 | FFSB-M16-070 | 16 | 70 | 100 | 70 | 16 | 10 |
| 1.00 | FFSB-M16-100 | 16 | 100 | 100 | 100 | 16 | 12 |
| 1.25 | FFSB-M20-100 | 20 | 100 | 100 | 100 | 20 | 13 |
| 1.80 | FFSB-M24-120 | 24 | 120 | 100 | 120 | 24 | 17 |
| 2.75 | FFSB-M30-150 | 30 | 150 | 100 | 150 | 30 | 22 |
Крепежное гнездо с плоским концом и поперечным штифтом предназначено для высокопрочного и надежного подъема в железобетонных конструкциях. Встроенная поперечная балка улучшает распределение нагрузки и устойчивость. Изготовленное из высококачественной стали в соответствии со стандартами CE и ISO 9001, оно обеспечивает превосходную безопасность, коррозионную стойкость и стабильную работу. Подходит для широкого спектра конструктивных элементов, обеспечивая надежность как при тяжелых, так и при стандартных подъемных работах.
Анкерная гильза с плоским концом и поперечным штифтом — это высокоточная подъемная закладная деталь, используемая в сборных железобетонных конструкциях. Она представляет собой гильзу с приплюснутым концом и просверленным отверстием, в котором закреплен высокопрочный стальной поперечный стержень. Этот стержень устанавливается горизонтально по отношению к направлению нагрузки, что обеспечивает лучшее распределение усилий и предотвращает вращение гильзы во время подъема. Конструкция сводит к минимуму точки концентрации напряжений и повышает структурную целостность подъемного соединения. Изготовленная из высокопрочной углеродистой или нержавеющей стали, деталь обладает отличными прочностными характеристиками и устойчивостью к износу и коррозии. Эта закладная обычно устанавливается в бетонные панели, колонны, балки и другие тяжелые сборные элементы. Встроенный поперечный штифт улучшает анкеровку, гарантируя надежную фиксацию гильзы под нагрузкой. Все изделия производятся в соответствии с требованиями CE и ISO 9001, что гарантирует исключительную долговечность, стабильность характеристик и безопасность для сложных строительных проектов.
Высокопрочная углеродистая сталь или нержавеющая сталь, выбранные за их предел прочности на разрыв, коррозионную стойкость и долговечность.
Представляет собой стальной стержень, вставленный в отверстие на конце анкерных гильз с плоским концом. Корпус гильзы с плоским концом и внутренней резьбой; просверленное отверстие в плоской части; встроенный поперечный стержень, расположенный перпендикулярно направлению подъема.
Сертифицировано CE и произведено в соответствии со стандартами менеджмента качества ISO 9001.
При заделке в сборный бетон анкерная гильза с плоским концом и поперечным штифтом передает подъемные усилия от резьбового соединения через корпус гильзы на поперечный стержень. Стержень сцепляется с окружающим бетоном, распределяя нагрузку и снижая локальное напряжение. Такое горизонтальное положение предотвращает вырывание и вращение, обеспечивая стабильный подъем. Внутренняя резьба позволяет легко подсоединять подъемные захваты или аксессуары, что делает ее совместимой с различными методами перемещения для безопасной и эффективной транспортировки сборных компонентов.
Анкерная гильза с плоским концом и поперечным штифтом широко используется для подъема и перемещения сборных железобетонных элементов, таких как стеновые панели, балки, колонны и плиты перекрытия. Она идеально подходит как для вертикального, так и для наклонного подъема, обеспечивая надежную анкеровку в структурных компонентах различных форм и размеров. Эта закладная деталь подходит для строительных проектов, требующих высоких коэффициентов безопасности, надежных нагрузочных характеристик и долговечности, что делает ее предпочтительным выбором в промышленном, коммерческом и инфраструктурном производстве ЖБИ.
Повышенная стабильность нагрузки благодаря встроенному поперечному стержню
Высокий коэффициент безопасности для сложных условий подъема
Доступны антикоррозийные варианты обработки поверхности
Короткий цикл производства благодаря высокоточному изготовлению
Совместимость с различными подъемными системами
Сертификация CE и ISO 9001 для обеспечения качества
Наша команда изучает ваши чертежи и спецификации, оценивая требования к нагрузке, условия окружающей среды и графики производства, чтобы создать индивидуальный план изготовления, обеспечивающий оптимальную производительность и эффективность вашего заказа.
мы закупаем сертифицированную высокопрочную сталь у проверенных поставщиков. Поступающие материалы тестируются на предел прочности, химический состав и точность размеров, чтобы гарантировать их соответствие требованиям качества CE и ISO 9001 перед запуском в производство.
Стальные стержни нарезаются на отрезки точной длины в соответствии с требуемым размером гильзы, обеспечивая единообразие и точность характеристик всех выпускаемых единиц.
Один конец каждой заготовки прессуется до плоского состояния в контролируемых условиях для создания ровной поверхности, подготавливая ее к точному сверлению и установке поперечного стержня.
В сплющенной секции сверлится прецизионное отверстие с жесткими допусками, что обеспечивает надежную посадку и выравнивание при установке поперечного стержня.
Высокопрочный поперечный стержень вставляется и плотно фиксируется в просверленном отверстии, что гарантирует стабильное положение и максимальную способность к передаче нагрузки.
Проводятся размерный и визуальный контроль для подтверждения точности, качества отделки поверхности и правильного расположения поперечного стержня перед дальнейшей обработкой.
На противоположном конце гильзы нарезается резьба заданного размера, что обеспечивает совместимость с подъемными захватами и аксессуарами.
Второй этап контроля качества проверяет точность резьбы, целостность поперечного стержня и соответствие размеров для предотвращения любого производственного брака.
Готовые гильзы упаковываются с использованием защитных материалов, маркируются и подготавливаются к отгрузке. Заказы отправляются оперативно в соответствии с согласованными сроками.
Наша сервисная команда обеспечивает техническую поддержку, отслеживание заказов и помощь в решении возникающих вопросов, гарантируя ваше удовлетворение на всех этапах после покупки.
О: Высокопрочная углеродистая сталь или нержавеющая сталь, выбранные за превосходную прочность на разрыв и коррозионную стойкость в сложных условиях эксплуатации ЖБИ.
О: Да, конструкция с поперечным штифтом обеспечивает стабильность и предотвращает вращение, что делает ее подходящей как для вертикальных, так и для наклонных операций подъема.
О: Варианты включают электрогальваническое цинкование, горячее цинкование и дополнительное антикоррозийное уплотнение для повышения долговечности.
О: Все изделия сертифицированы CE и производятся в рамках системы менеджмента качества ISO 9001 для обеспечения стабильных характеристик.
О: Каждая гильза надежно упаковывается с использованием защитных материалов для предотвращения повреждений при хранении и транспортировке.
Компания HULK Metal гарантирует, что каждый крепежный элемент с плоским концом и крестообразным штифтом соответствует самым высоким стандартам качества. Наша специализированная команда инспекторов контролирует каждый этап производства, от тестирования сырья до окончательной упаковки. Тщательно проверяются точность размеров, прочность на растяжение и целостность поверхности. Предварительные проверки перед отгрузкой подтверждают соответствие требованиям CE и ISO 9001. Проверка количества и визуальный осмотр гарантируют, что каждый заказ является полным, безопасным и готовым к надежному использованию в подъемных работах с железобетонными конструкциями.
Для обеспечения соответствия всех компонентов техническим характеристикам и поддержания стабильных стандартов производительности выполняются точные замеры длины, диаметра, отверстия на плоском конце и положения поперечного штифта.
Каждое гнездо проходит испытание на растяжение, чтобы подтвердить его способность выдерживать нагрузки, превышающие допустимую рабочую нагрузку, что обеспечивает максимальную безопасность и надежность при подъемных операциях.
Перед отгрузкой вся продукция проходит визуальный осмотр, проверку на наличие дефектов, а также проверку на надлежащую обработку поверхности, целостность резьбы и правильность установки поперечной балки.
Заказы тщательно подсчитываются и сверяются с упаковочным листом для обеспечения точности, предотвращения недостачи или излишков и гарантирования бесперебойного планирования проекта для клиентов.
Заводы HULK Metal полностью оснащены для точного и эффективного производства плоских крепежных муфт с поперечным штифтом. Наш производственный процесс сочетает в себе передовое оборудование, опытных операторов и строгие стандарты качества. От подготовки сырья до упаковки каждый этап тщательно контролируется. Специализированные центры контроля качества и партнерские заводы по обработке поверхности гарантируют соответствие муфт требованиям CE и ISO 9001. Такая интегрированная система гарантирует надежную, высококачественную продукцию и стабильную доставку для всех видов применения сборного железобетона.
Наш производственный завод специализируется на изготовлении крепежных муфт с плоским концом и поперечным штифтом с использованием современного оборудования для резки, выравнивания, сверления и штамповки. Квалифицированные специалисты следуют точным производственным процедурам, обеспечивая точные размеры и высокую прочность. Каждая производственная линия спроектирована для повышения эффективности, минимизации сроков выполнения заказов при сохранении строгих стандартов качества. Непрерывный мониторинг и проверки в процессе производства гарантируют стабильность качества от партии к партии. Интегрированный производственный процесс завода — от подготовки сырья до нарезания резьбы и сборки — позволяет компании HULK Metal поставлять высококачественные муфты, точно соответствующие требованиям проектов по подъему железобетонных конструкций.
HULK Metal's dedicated QC center conducts comprehensive inspections at every stage of production. Dimensional checks, tensile testing, cross-pin verification, and thread accuracy inspections ensure each socket meets CE and ISO 9001 standards. Pre-shipment inspections confirm surface treatment, visual integrity, and packaging accuracy. The QC team uses calibrated instruments and standardized procedures to maintain consistency. Their systematic approach reduces errors, ensures reliability, and provides clients with confidence that every Flat End Fixing Socket with Cross Pin performs safely and consistently under all lifting conditions.
Наши партнерские заводы по обработке поверхностей обеспечивают электроцинкование, горячее цинкование и антикоррозийную обработку плоских крепежных гнезд с крестообразным штифтом. Высокопроизводительное стандартизированное оборудование гарантирует равномерное покрытие, превосходную коррозионную стойкость и долговечность. Передовые системы контроля процесса и опытные операторы обеспечивают жесткие допуски и стабильное качество отделки. Эта обработка повышает производительность в суровых условиях, продлевает срок службы изделия и упрощает хранение и обработку. Благодаря сотрудничеству с сертифицированными заводами по обработке поверхностей, HULK Metal гарантирует соответствие гнезд международным стандартам, сохраняя при этом эффективные сроки производства.
Выбор плоского торцевого крепежного гнезда с поперечным штифтом от HULK Metal гарантирует высочайшую безопасность, качество и эффективность. Наша производственная команда работает в соответствии с процедурами ISO 9001, а команда контроля качества проводит многонаправленные испытания на растяжение и измерения размеров. Сокращенные производственные циклы, передовые методы обработки поверхности и быстрая доставка оптимизируют сроки выполнения вашего проекта. Бесплатное складирование, гибкое планирование отгрузки и специализированная сервисная команда обеспечивают комплексную поддержку. Вы получаете надежные, сертифицированные по стандарту CE подъемные гнезда с полным послепродажным обслуживанием.
Вы получите плоский крепежный разъем с крестообразным штифтом, соответствующий самым высоким стандартам сертификации. Компания HULK предоставляет услуги по строгому тестированию и производству продукции в соответствии с высокими стандартами. Мы располагаем современным производственным оборудованием и опытной производственной командой, способной производить продукцию в строгом соответствии со стандартом ISO9001. Современное испытательное оборудование и профессиональная команда контроля качества отслеживают весь производственный процесс и контролируют качество продукции.
Вы получите плоский крепежный патрон с крестообразным штифтом с более коротким производственным циклом. Компания HULK может составить производственный план в соответствии с предоставленными вами чертежами и требованиями, а также с учетом нашего производственного опыта. Упорядоченный производственный процесс позволяет эффективно избежать брака, вторичной обработки, переделок и других факторов, задерживающих строительство. Мы также окажем вам различную поддержку, чтобы помочь вам понять динамику производства заказа.
Вы получите плоский крепежный штифт с крестообразным креплением, обладающий повышенной коррозионной стойкостью. Компания HULK проведет оценку каждого завода по обработке поверхности, чтобы убедиться в его способности предоставлять услуги, соответствующие вашим требованиям. Наша команда контроля качества имеет богатый опыт в горячем и электроцинковании и может предоставить вам профессиональную проверку. Независимо от наличия обработки поверхности, мы обеспечим антикоррозийную защиту изделия для вашего удобства при хранении и использовании.
Вы можете приобрести плоский крепежный штифт с крестообразным креплением в более короткие сроки. Компания HULK предоставляет бесплатные услуги складирования и консультации по доставке. При заказе больших партий товара вы получаете более выгодные условия, не беспокоясь о наличии товара на складе. Вы можете разместить готовую продукцию на складе HULK и постепенно отгружать ее в зависимости от наличия на складе. Мы также бесплатно разрабатываем для вас более экономичные маршруты доставки.
Приобретая продукцию HULK, вы можете воспользоваться комплексным послепродажным обслуживанием. В HULK вас будет сопровождать команда специалистов по послепродажному обслуживанию. Мы сформируем команду, включающую сотрудников производства, закупок, технологий, контроля качества, дизайна, финансов и других отделов, чтобы решить все ваши проблемы. В HULK вы сможете быстрее приобрести желаемую продукцию. Мы также предоставляем гарантийное обслуживание для каждой партии заказов.
Изучите другие материалы, посвященные крепежным муфтам с плоским концом и поперечным штифтом, чтобы понять их применение, методы установки и преимущества в производительности. В этих статьях представлены варианты продукции, технические руководства и примеры из практики, демонстрирующие эффективность и надежность подъемных решений HULK Metal. Используя эти материалы, клиенты могут сравнивать варианты, оценивать технические характеристики и выбирать наиболее подходящие вставки для проектов из сборного железобетона, обеспечивая более безопасные, быстрые и надежные подъемные операции в строительстве.
Компания HULK Metal предлагает широкий ассортимент комплектующих для сборных железобетонных конструкций, дополняющих анкерные крепления с плоским концом и поперечным штифтом. В их число входят анкерные штифты для подъема, закладные петли, комбинированные анкерные крепления для подъема, анкеры с опорой на основание и анкеры с волнообразным хвостовиком. Вся продукция сертифицирована по стандарту CE и производится в соответствии со стандартами ISO 9001. Разработанные с учетом долговечности, высоких коэффициентов безопасности и коррозионной стойкости, эти комплектующие обеспечивают надежные решения для подъема, перемещения и сборки сборных железобетонных элементов в промышленных, коммерческих и инфраструктурных проектах по всему миру.
Подъемные анкеры для сборного железобетона — это комплектующие, разработанные специально для подъема элементов ЖБИ. К ним относятся стержневые подъемные анкеры (также известные как анкеры типа «собачья кость» или анкеры со сферической головкой), двухголовые подъемные анкеры, технологические анкеры и др. Они устанавливаются внутри сборных железобетонных элементов и фиксируются с помощью пустотообразователя, который создает в месте крепления углубление для последующей установки подъемной муфты. Они могут использоваться в таких конструкциях, как бетонные лотки, водопропускные трубы, лестничные марши, трубы, панели и т.д.
Подъемные и крепежные втулки, также часто называемые подъемными и крепежными закладными деталями, — это комплектующие, предназначенные для подъема и анкеровки элементов сборного железобетона. Они предварительно закладываются в определенных местах бетона для создания точек подъема или монтажных отверстий для перемещения или соединения других элементов. С развитием индустрии быстровозводимых бетонных конструкций появилось множество их разновидностей. Как правило, они состоят из двух частей: гильзы и анкерующего элемента для передачи нагрузки. В зависимости от типа анкерующего элемента существует несколько десятков модификаций данных изделий.
Плоские анкеры для сборного железобетона изготавливаются из высокопрочных пластин легированной стали и предназначены для закладки в элементы ЖБИ в качестве точек подъема. Международным стандартом для данной продукции является сертификация CE. Каждая партия проходит строгие приемо-сдаточные испытания на растяжение с приложением нагрузки, соответствующей трехкратному (или даже более высокому) запасу прочности, вплоть до момента разрушения изделия.
Существует множество типов таких анкеров, и при их выборе необходимо учитывать форму, толщину, расположение точек подъема, вес и другие характеристики железобетонных элементов.
HULK Metal занимается производством и продажей подъемных муфт для сборного железобетона с 2006 года и накопила богатый опыт. Мы создали полную цепочку поставок и сформировали профессиональную команду для предоставления высококачественной продукции и услуг. Наши подъемные муфты прошли сертификацию CE и выдерживают испытания на разрушение с 5-кратным запасом прочности. Здесь вы можете ознакомиться с нашим ассортиментом продукции, производственными мощностями и сервисными возможностями.
HULK Metal предлагает широкий ассортимент подъемных крюков классов прочности G60, G70 и G80 с отлаженной цепочкой поставок. Мы располагаем передовым кузнечным заводом и интегрированным конвейерным производством. Качество подъемных крюков гарантировано, и мы предлагаем три вида обработки поверхности: электрогальваническое цинкование, горячее цинкование и порошковое покрытие. Мы строго соблюдаем стандарты управления ISO 9001, чтобы предоставлять вам продукцию и услуги более высокого качества. Вы можете связаться с нами в любое время, чтобы посетить завод, ознакомиться с нашими производственными и сервисными возможностями и разместить заказ, когда будете полностью удовлетворены.
Пустотообразователи используются для установки подъемных и распорных анкеров, а также других комплектующих, требующих предварительной закладки в сборные железобетонные изделия. Оставляемое ими углубление необходимо для соединения подъемной муфты с анкерами. Мы предлагаем полный ассортимент стандартных пустотообразователей и услуги OEM для специальных требований.
Магнитные фиксаторы для сборного железобетона — один из основных видов продукции HULK Metal. Они заслужили признание клиентов благодаря высокому качеству и разумной цене. В наших фиксаторах используются высокоэффективные и долговечные неодимовые магниты (NdFeB). Применение передовых технологий позволяет эффективно повышать производительность и снижать затраты, гарантируя при этом безупречное качество продукции. Мы предоставляем услуги по обеспечению качества, поэтому вы можете совершать закупки с полной уверенностью.
HULK Metal также специализируется на OEM-услугах по производству анкерных каналов, Т-образных болтов, тросовых коробок, кронштейнов для крепления камня и других комплектующих. Анкерные каналы могут быть изготовлены из холоднокатаной, горячекатаной и нержавеющей стали. Т-образные болты производятся из углеродистой, легированной и нержавеющей стали. Наши тросовые коробки оснащены одним тросом, а кронштейны для крепления камня изготавливаются исключительно под заказ (OEM). Мы разработаем оптимальное решение в соответствии с вашими требованиями, чтобы гарантировать соблюдение сроков поставки, качества и цены.
HULK Metal предлагает высококачественные анкеры с «лапкой», разработанные для безопасного подъема сборных железобетонных изделий. Наши стержневые подъемные анкеры, сертифицированные по стандартам CE и ISO 9001, гарантируют трехкратный запас прочности, сокращенные циклы производства и оперативную доставку.
Компания HULK Metal поставила десятки миллионов анкерных штифтов грузоподъемностью от 1,3 до 32 тонн сотням покупателей по всему миру. Мы предлагаем полный ассортимент продукции и отлаженную цепочку поставок, чтобы обеспечить вам качественное обслуживание. Мы предоставляем услуги по контролю качества. Пожалуйста, обращайтесь с вопросами.
Компания HULK Metal производит анкерные штифты (типа «собачья кость»), соответствующие самым высоким стандартам и отвечающие самым высоким требованиям к подъему сборных железобетонных конструкций. Мы предлагаем комплексные решения для OEM-производителей, от проектирования и производства до обработки поверхности и доставки, гарантируя, что каждый анкер обладает превосходной прочностью, коррозионной стойкостью и совместимостью с различными подъемными системами.
Компания HULK Metal выделяется как ведущий производитель подъемных анкеров, специализирующийся на железобетонных подъемных анкерах, соответствующих строгим требованиям сертификации CE и имеющих трехкратный запас прочности.
Надежные двухсторонние подъемные анкеры для сборного железобетона от HULK Metal обеспечивают безопасный подъем, повышенный коэффициент прочности и коррозийную стойкость. Продукция полностью соответствует стандартам CE и ISO 9001, отвечая самым строгим требованиям строительной отрасли по всему миру.
Долговечные подъемные анкеры с шаровидной головкой от HULK Metal, сертифицированные по стандартам CE, обеспечивают надежную грузоподъемность и коррозионную стойкость, гарантируя безопасный и эффективный подъем сборных железобетонных конструкций с быстрой доставкой и гарантией качества.
Подъемные штифты для сборного железобетона, поставляемые компанией HULK Metal, имеют сертификат CE. Мы можем поставлять подъемные штифты, которые проходят испытание на растяжение с трехкратным превышением коэффициента запаса прочности и строго соответствуют стандарту ISO 9001, обеспечивая высокое качество продукции.
Анкер с коротким волнистым хвостом — это компактное высокопрочное грузоподъемное решение для сборных железобетонных элементов. Его волнообразный хвост из арматуры обеспечивает равномерное распределение нагрузки, предотвращает растрескивание бетона и надежно соединяется с резьбовыми втулками или подъемными вставками для безопасной и эффективной работы.
Анкер с волнистым хвостовым оперением изготавливается из высокопрочной стальной трубы и арматурного профиля, экструдированного после гибки. Диапазон его рабочей нагрузки составляет от 0,5 до 8,0 тонн. Существует два стандарта резьбы: M и RD.
HULK Metal — известный китайский поставщик высококачественных и экономически выгодных резьбовых закладных деталей для подъема ЖБИ. Благодаря отлаженной цепочке поставок и профессиональной команде мы поставляем клиентам по всему миру анкеры с плоским основанием, цельностержневые анкеры, трубчатые анкеры и другие виды изделий. Мы обеспечиваем полный комплекс услуг по контролю качества. Будем рады вашему запросу.
HULK Metal является одним из ведущих поставщиков высококачественных подъемных закладных деталей с плоским концом в Китае. Чтобы обеспечить лучший сервис и качество продукции, мы сформировали полную цепочку поставок. Мы строго придерживаемся стандартов управления ISO 9001 и за годы развития наладили выпуск полного ассортимента закладных деталей с плоским концом, сертифицированных по стандарту CE.
Подъемные закладные детали из цельного прутка, поставляемые HULK Metal, прошли сертификацию CE. Они выдерживают испытания на растяжение с трехкратным коэффициентом безопасности. Мы строго соблюдаем стандарты ISO 9001 при управлении всей цепочкой поставок, чтобы гарантировать вам высокое качество продукции и сервиса.
Прочные стержневые крепежные элементы встраиваются в сборный железобетон для надежного резьбового соединения. Изготовленные из прочных стальных стержней, на одном конце имеется резьба для крепления, а на другом – отверстие для арматуры, что повышает структурную целостность.
Комбинированное подъемное гнездо сочетает в себе анкерный штифт и резьбовое гнездо, обеспечивая прочное и надежное соединение для подъема и перемещения сборных железобетонных элементов в строительных и инфраструктурных проектах.
Плоский анкер с фиксирующим штифтом от HULK Metal оснащен надежной поперечной перекладиной для повышения стабильности нагрузки. Изготовленный в соответствии со стандартами CE и ISO 9001, он обеспечивает исключительную прочность, коррозионную стойкость и надежность для различных задач по подъему сборного железобетона.
Анкерные гильзы с изогнутым концом, также известные как анкерные вставки с изогнутым концом, являются важными элементами для анкеровки в сборном железобетоне. Эти гильзы обеспечивают надежные точки крепления элементов, а их изогнутая конструкция улучшает сцепление и устойчивость.
Трубчатые подъемные вставки, поставляемые компанией HULK Metal, прошли сертификацию CE. Трубчатые подъемные вставки выдерживают испытание на растяжение с трехкратным запасом прочности, и каждая партия продукции сопровождается подробным протоколом испытаний.
Компания HULK Metal может предоставить вам длинные волнистые подъемные вставки стандарта RD и M с резьбой 12-45 и рабочей нагрузкой от 0,5 до 8 тонн. Они соответствуют международному стандарту CE и должны пройти испытание на растяжение с трехкратным запасом прочности.
Компания HULK Metal производит прочные цельнолитые крепежные элементы с поперечными штифтами и вставками с поперечными балками для сборного железобетона. Продукция сертифицирована по стандартам CE и ISO 9001, отличается высокими показателями безопасности и быстрой доставкой крупных заказов.
HULK Metal предлагает анкерные гильзы с плоским концом премиального качества, разработанные для безопасного и эффективного перемещения сборных железобетонных элементов. Изготовленные из высокопрочной легированной стали и сертифицированные по стандартам CE и ISO 9001, эти подъемные вставки обеспечивают исключительную грузоподъемность и коррозийную стойкость.
Трубчатые подъемные анкеры HULK Metal, изготовленные из высококачественной или нержавеющей стали, обеспечивают надежные резьбовые соединения в сборном железобетоне. Сертифицированные по стандарту CE и прошедшие прецизионную обработку, они гарантируют стабильную работу при подъеме, исключительную долговечность и соответствие строгим требованиям безопасности для различных строительных нужд.
Длинная волнистая подъемная муфта сочетает в себе резьбовую стальную трубу и арматурный стержень с волнистым концом для обеспечения более глубокой передачи напряжений в сборном железобетоне. Разработанная для тяжелых подъемных работ, она соответствует стандартам CE и ISO 9001 и обеспечивает четырехкратный запас прочности.
Q345/20#/Нержавеющая сталь/Другие
Оцинкованная/Черная
8~52
≥3
Плоские подъемные кронштейны встраиваются в сборный железобетон для обеспечения надежной фиксации при подъеме. Конструкция включает резьбовой конец для крепления муфты и широкое основание для распределения нагрузки; доступны в оцинкованном исполнении для дополнительной прочности.
Крепежные гнезда с плоским концом, также известные как крепежные вставки с плоским концом, надежно фиксируются в сборном железобетоне. Изготовленные из прочной стали, они имеют плоский конец для удобства установки и резьбовую внутреннюю часть для болтов.
Пластинчатые уширенные анкеры HULK Metal имеют конструкцию с приваренной стальной пластиной и головкой, предназначенную для анкеровки в бетоне при подъеме за ребро. Доступные в различных размерах с вариантами гальванического покрытия, они обеспечивают безопасную нагрузку до 10 тонн.
Односторонние монтажные анкеры служат специализированными грузоподъемными закладными деталями для сборного железобетона, предназначенными для односторонней нагрузки при монтаже элементов. Они интегрируются с кольцевыми муфтами и пустотообразователями, обеспечивая устойчивые точки крепления, которые повышают безопасность и снижают напряжение в панелях при проведении строительных работ.
HULK Metal поставляет плоские анкеры, изготовленные из высококачественных сплавов, для надежного подъема в проектах по всему миру, связанных со сборным железобетоном.
HULK Metal является надежным поставщиком анкеров для монтажа в Китае, поставляя продукцию высокого стандарта для подъема сборного железобетона. Наши анкеры обеспечивают безопасную эксплуатацию благодаря превосходной прочности и коррозионной стойкости, что подкрепляется комплексной производственной поддержкой для оптовых заказов.
Компания HULK Metal поставляет анкерные крепления, сертифицированные по стандартам CE и ISO9001, с надежными коэффициентами безопасности, быстрой доставкой и профессиональной поддержкой. Выбирайте наши анкерные крепления для получения высококачественных и комплексных решений по подъему сборных железобетонных конструкций.
Компания HULK Metal поставляет высококачественные двухточечные анкеры, предназначенные для надежного подъема сборных железобетонных элементов. Наши анкеры, сертифицированные по стандартам CE и ISO 9001, гарантируют безопасность, долговечность и эффективность.
Кольцевая муфта , поставляемая HULK Metal, сертифицирована CE и способна пройти испытание на растяжение с коэффициентом безопасности 5. Мы интегрировали полную цепочку поставок и сформировали полноценную команду для предоставления лучших продуктов и услуг.
Подъемные проушины для сборного железобетона от HULK Metal, также известные как подъемные муфты или подъемные петли, разработаны с высокой точностью для тяжелых подъемных работ. Изготовленные из высокопрочных материалов, они обеспечивают безопасность, долговечность и эффективность при подъеме сборного железобетона по всему миру.
Высококачественная подъемная петля в форме собачьей кости с сертификатами CE и ISO9001. Прочная, безопасная и долговечная для подъема сборных железобетонных конструкций. Более короткий производственный цикл и быстрая доставка от надежного китайского поставщика HULK Metal.
HULK Metal поставляет сертифицированные по стандартам CE и ISO 9001 подъемные муфты для штифтовых анкеров с пятикратным запасом прочности, сокращенными циклами производства и полной послепродажной поддержкой для глобальных проектов в сфере сборного железобетона.
Подъемное кольцо типа "собачья кость" с цепью, поставляемое компанией HULK Metal, прошло испытание на пятикратный запас прочности и имеет сертификат CE. Мы можем обеспечить грузоподъемность от 1,3 до 20 тонн.
Кольцевая муфта, поставляемая компанией HULK Metal, имеет сертификат CE и проходит испытание на растяжение с коэффициентом запаса прочности 5. Мы создали полную цепочку поставок и сформировали сплоченную команду для предоставления более качественных продуктов и услуг.
Подъемные Петли для ЖБИ поставляемые HULK Metal, прошли сертификацию CE и ISO 9001, а также успешно выдерживают испытания с 5-кратным коэффициентом запаса прочности. HULK Metal — опытный производитель в Китае. Будем рады вашему запросу.
Q345/35CrMo/Другие
Оцинкованная/Черная/Порошковое покрытие
1,3~32,0
≥5
Точное литье
HULK Metal обладает развитой цепочкой поставок, что позволяет предлагать вам полный ассортимент крюков с вилочным сопряжением (Clevis Slip Hooks), включая классы прочности G43, G70, G80, с маркировкой CE, с предохранительным замком или без него, а также с электрогальваническим, горячим цинкованием или порошковым покрытием.
Мы поставили клиентам в более чем 100 стран и регионов мира укорачивающие крюки с вилочными захватами с головкой G43 70 80 G43 70 80 коэффициент безопасности от 2 до 4 кратнее.
Компания HULK Metal — опытный поставщик крюков-захватов в Китае. Мы создали полную цепочку поставок и сформировали профессиональную команду для предоставления более качественных продуктов и услуг. Мы можем предложить крюки-захваты различных спецификаций и с различной обработкой поверхности.
Компания HULK Metal — опытный поставщик в Китае, предлагающий крюки с проушиной из различных материалов, различной прочности, с сертификатами, обработкой поверхности и размерами. Мы создали полную цепочку поставок, чтобы обеспечить контроль над сырьем, производством и доставкой, гарантируя высокое качество и низкую стоимость подъемных крюков.
Анкерное углубление — важный компонент для точного позиционирования подъемных анкеров в сборных железобетонных элементах. Компания HULK Metal поставляет анкерные углубления из различных материалов и в различных конфигурациях, чтобы соответствовать различным подъемным системам и методам производства.
Компания HULK Metal поставляет высококачественные резиновые опалубочные формы для подъемных систем из сборного железобетона. Они используются с опалубочными формами для анкерных и анкерных креплений, обеспечивая точное формирование углублений, сокращение производственных циклов и ускоренную доставку.
HULK Metal поставляет надежные пуансоны для сферических подъемных анкеров, предназначенные для производства сборных железобетонных изделий. Мы предлагаем широкий размерный ряд для нагрузок от 1,3 до 32 тонн, подтвержденный сертификатами CE и ISO 9001. Наши клиенты получают сокращенные сроки производства и комплексную поддержку при оптовых заказах.
Компания HULK Metal предлагает широкий выбор сборных магнитных профилей. Благодаря высокому качеству и доступной цене, это ваш лучший выбор.
Резиновая опалубка для анкерных болтов изготовлена из прочной резины с усиленной задней металлической пластиной. Она предназначена для крепления анкерных болтов в сборном железобетоне, обеспечивая точное позиционирование, легкое извлечение и надежную подъемную работу.
Являясь одним из ведущих поставщиков магнитных выемкообразователей в Китае, HULK Metal располагает современными заводами и совершенной цепочкой поставок, чтобы предоставить вам высококачественную продукцию и услуги.
HULK Metal предлагает сертифицированные по стандарту CE магнитные держатели для подъемных и фиксирующих закладных деталей или анкерных втулок. Наш завод оснащен современным станочным парком, установками лазерной резки и сборочными линиями, что позволяет максимально эффективно производить сертифицированные CE магнитные держатели для анкерных втулок и закладных деталей (Precast Lifting Fixing Insert Socket Magnet) с более высоким коэффициентом выхода годной продукции.
Магниты для фиксации электрических коробок от HULK Metal имеют прочный резиновый корпус в сочетании с мощными неодимовыми магнитами NdFeB, что обеспечивает надежную фиксацию электрических коробок в сборном железобетоне. Эти магниты могут быть изготовлены на заказ по форме, размеру и отделке, что обеспечивает гибкость при оптовых заказах.
Наши Магнитные Системы для Опалубки разработаны для производства сборного железобетона, предлагая многоразовые и стабильные решения для фиксации. Они поддерживают различные размеры форм и обеспечивают лучшую экономическую эффективность для крупномасштабных строительных проектов.
Наш встроенный магнит для фиксации гофрированных труб сочетает в себе корпус из высококачественной стали с мощными магнитами для обеспечения надежной фиксации при производстве сборного железобетона. Он сокращает время монтажа, повышает эффективность и обеспечивает стабильную работу в различных областях применения, помогая клиентам получать более безопасные и надежные бетонные элементы.
Стальные закладные пластины являются важными компонентами, используемыми для создания прочных и надежных точек соединения в сборных железобетонных конструкциях. Являясь опытным производителем в Китае, HULK Metal поставляет закладные детали для бетона, обеспечивая стабильное качество, гибкую кастомизацию и неизменные производственные мощности.
Т-образные болты для анкерных каналов от HULK Metal изготавливаются методом прецизионной ковки из высокоэффективной легированной или нержавеющей стали. Варианты обработки поверхности, включая электроцинкование или горячее цинкование, значительно повышают устойчивость к коррозии, что делает их надежным решением для соединений в сборном железобетоне при реализации строительных и инфраструктурных проектов.
Анкерные каналы HALFEN от HULK Metal обеспечивают превосходное качество, соответствуют стандартам сертификатов CE и ISO и обладают пятикратным коэффициентом безопасности. Наше быстрое производство и доставка в сочетании с профессиональной послепродажной поддержкой делают оптовые закупки простыми и надежными.
Наименование: Петлевой бокс для сборного железобетона
Пресс-формы: Полный ассортимент форм
Материалы: Стальной трос / Стальной лист / По индивидуальному заказу
SL (мм) ±10: 60 / 80 / 100 / 120 / 140
Наши анкерные каналы обеспечивают превосходную прочность, сертифицированную безопасность и гибкость применения в сборном железобетоне. Изготовленные с использованием передовых процессов, они гарантируют долговечность, упрощенный монтаж и быструю доставку. HULK Metal предоставляет оптовым покупателям полное техническое обслуживание и надежную послепродажную поддержку.
Наши саморезы для бетона разработаны для надежной установки без использования анкерных креплений. Оцинкованные саморезы для бетона обеспечивают превосходную коррозионную стойкость, что делает их идеальными для использования внутри и снаружи помещений. Компания HULK Metal предлагает широкий выбор размеров, вариантов обработки поверхности и индивидуальных решений, соответствующих вашим потребностям.
Q345/20#/Нержавеющая сталь/Другие
Оцинкованная сталь
0,8~25,0
6~32
≥3
Металлические подъемные петли HULK изготовлены из легированной или углеродистой стали, имеют прецизионную резьбу и электрооцинкованы для защиты от коррозии. Предназначенные для использования с подъемными муфтами, они обеспечивают безопасное и надежное перемещение сборных железобетонных элементов с коэффициентом запаса прочности ≥4.
Плоский крепежный штифт с крестообразным шлицем производства HULK Metal отличается хорошим качеством.
Как ведущий поставщик услуг в сфере металлообработки, мы стремимся к тому, чтобы каждый клиент чувствовал полную уверенность и безопасность на всех этапах — от закупки до реализации. Мы помогаем партнерам эффективнее раскрывать свой потенциал, непрерывно устанавливая новые стандарты качества продукции и сервиса.
Китай, Циндао, ул. Чуньян, 86, здание Интеллектуального парка А, офис 901, 266109
© 2025 HULK Metal Все права защищены. Все права защищены.
