Окончательный визуальный и функциональный осмотр всех анкеров включает выборочную проверку на наличие дефектов, чтобы гарантировать соответствие оптовых заказов вашим ожиданиям.
Компания HULK Metal поставляет анкеры для крепления пластин, изготовленные из прочных материалов, таких как сталь 20Mn2 или Q345D, идеально подходящие для заделки в сборные железобетонные элементы. Эти анкеры обеспечивают надежные точки подъема, бесперебойно работая с опалубочными формами и кольцевыми зажимами для выполнения работ по наклону кромок и снятию старой арматуры. Благодаря возможности выбора электрооцинковки или горячего цинкования, они лучше противостоят коррозии в суровых условиях. Наши анкеры соответствуют строгим стандартам безопасности, что делает их оптимальным выбором для крупных покупателей, стремящихся к стабильному качеству и быстрой доставке в масштабных проектах. Свяжитесь с нами, чтобы заказать анкеры по индивидуальным чертежам для достижения наилучших результатов.
1. Продукция более высокого качества
2. Сокращенный производственный цикл
3. Повышенная коррозионная стойкость
4. Больше вариантов доставки
5. Комплексное послепродажное обслуживание
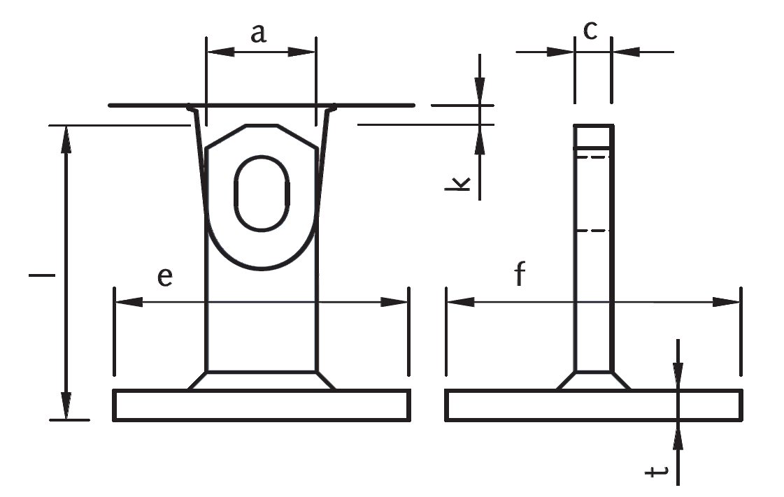
Анкерные пластины от HULK Metal имеют сварную стальную пластину и головку, заглубленные в бетон для подъема кромок. Доступны в различных размерах, с возможностью оцинковки, и надежно выдерживают нагрузку до 10 тонн.
Анкеры HULK Metal выпускаются в стандартных размерах, рассчитанных на различные нагрузки, от 2,5 до 10 тонн рабочей нагрузки. В качестве материалов используются сталь 20Mn2, Q345D или нержавеющая сталь по индивидуальному заказу, а для повышения прочности поверхности применяются такие виды обработки, как необработанная сталь, электрооцинкованная сталь или горячее цинкование. Каждый анкер имеет коэффициент запаса прочности не менее трех, что подтверждается сертификатами ISO9001 и CE. В таблице ниже приведены размеры и коды, которые помогут вам выбрать подходящий вариант для ваших потребностей в сборных железобетонных конструкциях. Для заказа индивидуальных вариантов, соответствующих вашим требованиям, свяжитесь с нашей технической командой.
| Наименование | Пластинчатый плоский анкер (Plate Spread Anchor) | ||||
| Чертеж | |||||
| Материал | 20Mn2 / Q345D / CM490 / Нержавеющая сталь / На заказ | ||||
| Обработка поверхности | Без покрытия / Электрогальваническое цинкование / Горячее цинкование | ||||
| Запас прочности | ≥ 3 | ||||
| Сертификация | ISO 9001 / CE | ||||
| WLL (тонны) | АРТИКУЛ | ДЛИНА (мм) | A (мм) | C (мм) | T (мм) |
| 2.5 | SPA025-08-055 | 55 | 30 | 6 | 8 |
| - | SPA025-08-080 | 80 | 30 | 10 | 8 |
| 5.0 | SPA050-10-120 | 120 | 40 | 15 | 10 |
| 10.0 | SPA100-12-160 | 160 | 60 | 20 | 12 |
Узнайте больше о характеристиках анкеров HULK Metal, от их прочной конструкции до бесшовной интеграции в сборные железобетонные конструкции. Эти анкеры превосходно обеспечивают надежные точки подъема для неглубоко заглубленных или тонких бетонных элементов, что подтверждается передовыми технологиями производства и контроля качества. Узнайте, как они работают, их основные преимущества и наш пошаговый производственный процесс. Будь то стеновые панели или балки, наши анкеры обеспечивают надежность, на которую рассчитывают оптовые покупатели. Свяжитесь с нами, чтобы обсудить, как мы можем адаптировать их к вашему проекту.
Пластинчатый плоский анкер — это разновидность плоских анкеров, предназначенная для закладки в сборные железобетонные изделия (ЖБИ) с целью создания точек подъема. Для его использования требуется установка пустотообразователя, который формирует в бетоне выемку, необходимую для фиксации кольцевой муфты.
Пластинчатые плоские анкеры выделяются в сфере подъемных систем для ЖБИ благодаря своей простой, но эффективной конструкции, которая равномерно распределяет нагрузку через квадратную опорную пластину. Такая схема минимизирует напряжение в тонких панелях при подъеме за ребро или кантовании.
В отличие от штыревых подъемных анкеров, они полагаются на дополнительное армирование для повышения сопротивления вырыванию, что делает их подходящими для неглубокой заделки. Их универсальность позволяет использовать их в различных положениях — от горизонтального до вертикального наклона.
В HULK Metal мы производим эти анкеры с использованием прецизионной сварки, гарантируя идеальное совмещение отверстия головки с муфтами для быстрого соединения. Оптовые покупатели получают выгоду от возможности индивидуальной настройки длины и размеров пластин, что сокращает объем подгоночных работ на объекте. Данный тип анкера сокращает время монтажа по сравнению с более сложными системами, сохраняя при этом высокий запас прочности. В целом, это экономичное решение для серийных погрузочно-разгрузочных работ в крупном производстве ЖБИ, а коррозионностойкое покрытие продлевает срок службы изделий при эксплуатации на открытом воздухе.
Изделие сваривается из двух секций. В головной части расположено единственное отверстие для крепления пустотообразователя и подъемной муфты. К задней части приварена квадратная стальная пластина, которая закладывается в бетон. При монтаже обычно используются четыре арматурных стержня, которые прижимают пластину.
Основной компонент — сварная стальная деталь, закладываемая в бетон. Имеет отверстие в головке для крепления муфты и опорную пластину для распределения нагрузки, что позволяет безопасно поднимать грузы до 10 тонн при надлежащем армировании.
Многоразовая форма, которая создает технологическую нишу вокруг головки анкера во время заливки бетона. Это обеспечивает легкий доступ для муфты, защищая анкер от попадания строительного мусора и сохраняя чистоту точки соединения.
Быстросъемное устройство, которое фиксируется в отверстии головки анкера. Оно позволяет кранам или крюкам надежно поднимать бетонный элемент, обладает возможностью вращения для подъема под углом и легко отсоединяется после позиционирования изделия.
Сверхмощные крюки соединяют кольцевую муфту с подъемным оборудованием (кранами). Они рассчитаны на высокие нагрузки и оснащены предохранительными защелками для предотвращения случайного отцепления, обеспечивая стабильное и контролируемое перемещение блоков ЖБИ.
Сертифицировано согласно CE и ISO9001.
Пластинчатые анкеры закладываются в ЖБИ во время литья, при этом опорная пластина и арматура распределяют растягивающие усилия. Пустотообразователь формирует нишу, позволяющую кольцевой муфте зацепиться за отверстие в головке. При подъеме муфта блокируется, передавая нагрузку на кран через крюки. Эта система лучше справляется с наклоном за ребро, чем штыревые типы, так как плоская конструкция сопротивляется вырыванию из тонких секций. Правильное выравнивание предотвращает напряжение на сдвиг, что делает его идеальным для панелей.
Безопасная рабочая нагрузка (WLL) должна соответствовать требованиям проекта.
Отверстие должно точно подходить к пустотообразователю и кольцевой муфте.
Изделие должно соответствовать действующим стандартам.
Пластинчатый анкер должен успешно проходить испытания на предельный предел прочности при растяжении с коэффициентом запаса прочности 3.
Пластинчатые плоские анкеры отлично подходят для таких проектов, как стеновые панели, плиты перекрытия и балки, где критически важен подъем за ребро. Они идеальны для кантования неглубоких блоков фасадных систем зданий или компонентов мостов, обеспечивая надежную фиксацию при транспортировке и монтаже. В инфраструктуре они поддерживают элементы водопропускных труб и барьеры, а в жилищном строительстве помогают при работе с лестничными маршами или балконами. Их конструкция адаптирована для крупносерийного производства, сокращая время простоя на объектах с однотипными подъемными операциями.
По сравнению с другими анкерами, пластинчатые варианты обеспечивают более широкое распределение нагрузки, снижая напряжение бетона в тонких элементах. Они устанавливаются быстрее с минимальным набором инструментов, что снижает затраты на оплату труда при массовых операциях. Оцинкованные варианты дольше сопротивляются ржавчине во влажных условиях, продлевая срок службы. Благодаря высокому запасу прочности они лучше справляются с непредвиденными перегрузками, сводя к минимуму риски. Возможность выбора материалов делает их адаптируемыми к специфическим средам — от прибрежных зон до промышленных объектов.
Мы разрабатываем комплексное производственное решение, основываясь на детальном понимании ваших потребностей в количестве, типе обработки поверхности, методах и сроках доставки. Наши технические эксперты изучают ваши чертежи или образцы для создания индивидуальных планов, обеспечивая эффективность и соответствие оптовым запросам.
Закупая сталь у проверенных поставщиков, мы выбираем высококачественные марки, такие как 20Mn2 или Q345D, и проводим испытания на предел прочности и химический состав. Этот этап подтверждает целостность материала, предотвращая появление дефектов на ранней стадии и гарантируя надежную работу анкеров под нагрузкой.
Прецизионная резка на современном оборудовании позволяет формировать головку и квадратную пластину из стальных заготовок. Это обеспечивает точные размеры для безупречной сварки и последующей закладки, что повышает общую устойчивость анкера в бетоне.
Опытные сварщики соединяют головку с опорной пластиной, создавая прочные соединения без дефектов. Однородность швов проверяется на способность выдерживать высокие нагрузки при подъеме, что делает конструкцию гораздо долговечнее по сравнению с менее надежными методами соединения.
Кромки сглаживаются, после чего наносится защитное покрытие — электрогальваническое или горячее цинкование. Оно наносится равномерно на все поверхности, благодаря чему анкеры служат значительно дольше в агрессивных условиях по сравнению с необработанными изделиями.
Каждый анкер проходит проверку размеров, испытания на растяжение при нагрузке, в три раза превышающей безопасную рабочую нагрузку (WLL/SWL), и визуальный осмотр. Это гарантирует, что к отгрузке допускаются только безупречные детали, что поддерживает наш высокий уровень качества при оптовых поставках.
Специальная упаковка защищает анкеры от повреждений, а наша внутренняя логистическая служба планирует оптимальные маршруты для своевременного прибытия груза. Гибкие варианты доставки упрощают управление вашими складскими запасами.
Наша команда сопровождает заказы с самого начала, предлагая технические консультации и оперативное решение любых вопросов по качеству, обеспечивая ваше удовлетворение продуктом на протяжении всего срока его службы.
Мы используем долговечные марки стали, такие как 20Mn2, Q345D, или нержавеющую сталь для специальных нужд. Все материалы проходят испытания на прочность, чтобы надежно выдерживать нагрузки при подъеме ЖБИ.
Трехкратный коэффициент означает, что при испытаниях анкеры выдерживают нагрузку в три раза выше расчетной безопасной рабочей нагрузки (SWL), обеспечивая дополнительную защиту от перегрузок в реальных условиях эксплуатации.
Да, варианты включают отсутствие покрытия, электрогальваническое или горячее цинкование для лучшей коррозионной стойкости в зависимости от ваших требований к условиям эксплуатации.
Вся продукция имеет сертификаты CE и ISO9001, подтверждающие соответствие мировым стандартам качества и безопасности систем сборного железобетона.
Благодаря эффективному планированию он короче среднего показателя по рынку; оптовые заказы выполняются быстрее за счет опыта наших команд и современного оборудования.
Для услуг OEM/ODM необходимы как минимум 2D-чертежи или образцы, что позволяет нам разработать точное производственное решение под ваши нужды.
Наше послепродажное обслуживание распространяется на изделия с дефектами; мы проводим быструю проверку и замену, чтобы минимизировать ваши простои.
Безусловно, они специально разработаны для подъема за ребро и выемки из форм стеновых панелей, так как широкие пластины эффективно распределяют нагрузку.
Выбор основывается на безопасной рабочей нагрузке (SWL) и размерах, указанных в нашей таблице; наша команда всегда готова помочь с подбором под ваши бетонные элементы.
Для полноценной работы системы подъема используются пустотообразователи, кольцевые муфты и подъемные крюки.
В компании HULK Metal контроль качества анкерных креплений из листового металла включает многоступенчатую проверку с использованием передовых инструментов, гарантирующую, что каждая деталь превосходит стандарты. От проверки сырья до окончательной проверки перед отгрузкой наша опытная команда проверяет размеры, пределы прочности на растяжение и многое другое. Такой строгий подход обеспечивает процент соответствия более 98%, что дает оптовым покупателям уверенность в стабильном качестве продукции. Мы отслеживаем каждую партию, заблаговременно устраняя проблемы для обеспечения более безопасной и надежной продукции.
Окончательный визуальный и функциональный осмотр всех анкеров включает выборочную проверку на наличие дефектов, чтобы гарантировать соответствие оптовых заказов вашим ожиданиям.
Диаметр и соосность отверстий в головке проверяются с помощью микрометров, что обеспечивает плавное зацепление с муфтами без заеданий.
Анкеры проходят испытания на разрыв при нагрузке, в три раза превышающей допустимую рабочую нагрузку, на гидравлических машинах, что позволяет проверить прочность и выявить любые слабые места перед утверждением.
Подсчет количества продукции осуществляется с помощью автоматизированных систем, которые сверяют данные с заказами, предотвращая дефицит и обеспечивая полную доставку продукции для ваших проектов.
Мы измеряем длину, ширину и толщину в соответствии со спецификациями с помощью штангенциркулей и измерительных инструментов, подтверждая точную посадку формовочных элементов и муфт.
Заводы HULK Metal по производству анкерных креплений из листового металла сочетают в себе передовое оборудование и квалифицированные команды, что позволяет эффективно выполнять крупносерийные заказы. От закупки материалов до окончательной упаковки наша система ориентирована на точность и скорость. Центры контроля качества, оснащенные испытательными приборами, поддерживают стандарты, а зоны обработки поверхности повышают долговечность. Эта комплексная цепочка обеспечивает оптовых покупателей надежными поставками и возможностью индивидуальной настройки.
В нашем центре контроля качества работают эксперты с более чем десятилетним опытом в области тестирования, которые используют разрывные машины, спектрометры и измерительные приборы для тщательной проверки. Каждая партия проходит проверку размеров, нагрузки и визуальный осмотр, демонстрируя высокий процент успешных проверок. Система регистрации данных отслеживает тенденции, предотвращая повторение проблем. Этот центр подтверждает наши сертификаты, предоставляя отчеты, гарантирующие покупателям целостность продукции.
Наш производственный цех выполняет все этапы производства, от резки и сварки до сборки, используя автоматизированные линии для обеспечения стабильного качества. Благодаря возможности выпуска больших партий продукции мы поддерживаем короткие циклы производства за счет оптимизации рабочих процессов. Квалифицированные операторы гарантируют, что сварка и резка будут соответствовать точным спецификациям, а интегрированные системы отслеживают ход работ, предоставляя клиентам обновления в режиме реального времени. Такая конфигурация позволяет производить анкеры, готовые для сложных задач в области сборного железобетона.
Этот завод, специализирующийся на таких видах отделки, как гальванизация, равномерно наносит защитные покрытия с помощью современных процессов погружения и электрохимической обработки. Оборудование контролирует толщину покрытия для обеспечения превосходной коррозионной стойкости, превосходящей стандартные методы обработки. Специалисты проверяют адгезию и покрытие, гарантируя, что анкеры выдерживают воздействие окружающей среды. Наши партнерские отношения с поставщиками обеспечивают бесперебойную поставку материалов, поддерживая быструю обработку заказов на продукцию с покрытием в больших объемах.
Выбирая анкеры HULK Metal, вы получаете доступ к высочайшему качеству, ускоренному производству и надежной поддержке ваших потребностей в сборных железобетонных конструкциях. Наша сертифицированная продукция обладает повышенной коррозионной стойкостью и надежной работой под нагрузкой. Благодаря опытным командам, разрабатывающим эффективные решения, вы получите анкеры, которые идеально впишутся в ваши производственные процессы. Воспользуйтесь комплексным обслуживанием от заказа до послепродажного обслуживания, разработанным для оптовых покупателей, ищущих надежных китайских поставщиков.
Вы получите анкерную пластину с более высоким уровнем сертификации. Компания HULK располагает профессиональной производственной командой и современным оборудованием, а также строго соблюдает требования стандарта ISO9001. Наша команда контроля качества имеет более чем десятилетний опыт и проводит испытания с нагрузкой, превышающей в три раза допустимую. Мы отслеживаем весь производственный процесс, чтобы гарантировать, что процент соответствия вашего заказа составит не менее 100%.
Вы получите анкерную пластину с более коротким производственным циклом. Техническая команда HULK обладает десятилетним опытом в разработке индивидуальных решений и может спланировать для вас более оптимальное производственное решение в соответствии с предоставленными вами чертежами и требованиями. Завершение производства в кратчайшие сроки. Вы можете следить за динамикой производства вашего заказа благодаря предоставляемой нами обратной связи. Также существуют дополнительные способы участия в производстве.
Вы получите пластинчатый анкер с повышенной коррозионной стойкостью. Компания HULK сотрудничает с десятками отечественных производителей оборудования для обработки поверхностей, которые могут предоставить услуги высокого стандарта. Они могут обеспечить более качественную обработку поверхности вашей продукции. Мы проводим строгие испытания покрытия изделий, чтобы гарантировать его большую толщину, равномерность и износостойкость. Кроме того, мы также проводим антикоррозионную обработку изделий, не требующих нанесения покрытия.
Вы можете получить анкерную систему с более коротким сроком доставки. Компания HULK имеет собственную транспортно-экспедиторскую компанию, которая может спланировать для вас несколько маршрутов доставки в зависимости от вашей страны и региона. Вы можете выбрать наиболее подходящий способ доставки в соответствии с вашими потребностями. Мы также предоставляем бесплатные складские услуги, чтобы снизить нагрузку на ваши запасы.
Приобретая продукцию HULK, вы можете воспользоваться комплексным послепродажным обслуживанием. Компания HULK считает, что послепродажное обслуживание должно начинаться с момента размещения заказа. Поэтому мы создали команду послепродажного обслуживания, в которую входят специалисты технического, производственного, контрольного, дизайнерского, финансового, транспортного отделов и другие, чтобы предоставить вам всестороннее обслуживание. Мы гарантируем качество предоставляемых услуг. В HULK вы можете оценить удобство процесса покупки.
Будьте в курсе событий благодаря аналитическим материалам HULK Metal о пластинчатых анкерах и системах подъема сборных железобетонных конструкций. Наши статьи содержат советы по монтажу, сравнение материалов и отраслевые тенденции, помогая покупателям оптимизировать выбор. От лучших практик безопасности до вариантов индивидуальной настройки — в этих материалах мы делимся своим опытом, чтобы помочь решить распространенные проблемы, связанные с обработкой бетона. Ознакомьтесь с ними, чтобы получить практические советы, которые улучшат ваши проекты и помогут в выборе поставщиков.
HULK Metal предлагает широкий спектр комплектующих для сборного железобетона, помимо пластинчатых уширенных анкеров, включая резьбовые втулки, подъемные петли и закладные шины.
Подъемные анкеры для сборного железобетона — это комплектующие, разработанные специально для подъема элементов ЖБИ. К ним относятся стержневые подъемные анкеры (также известные как анкеры типа «собачья кость» или анкеры со сферической головкой), двухголовые подъемные анкеры, технологические анкеры и др. Они устанавливаются внутри сборных железобетонных элементов и фиксируются с помощью пустотообразователя, который создает в месте крепления углубление для последующей установки подъемной муфты. Они могут использоваться в таких конструкциях, как бетонные лотки, водопропускные трубы, лестничные марши, трубы, панели и т.д.
Подъемные и крепежные втулки, также часто называемые подъемными и крепежными закладными деталями, — это комплектующие, предназначенные для подъема и анкеровки элементов сборного железобетона. Они предварительно закладываются в определенных местах бетона для создания точек подъема или монтажных отверстий для перемещения или соединения других элементов. С развитием индустрии быстровозводимых бетонных конструкций появилось множество их разновидностей. Как правило, они состоят из двух частей: гильзы и анкерующего элемента для передачи нагрузки. В зависимости от типа анкерующего элемента существует несколько десятков модификаций данных изделий.
Плоские анкеры для сборного железобетона изготавливаются из высокопрочных пластин легированной стали и предназначены для закладки в элементы ЖБИ в качестве точек подъема. Международным стандартом для данной продукции является сертификация CE. Каждая партия проходит строгие приемо-сдаточные испытания на растяжение с приложением нагрузки, соответствующей трехкратному (или даже более высокому) запасу прочности, вплоть до момента разрушения изделия.
Существует множество типов таких анкеров, и при их выборе необходимо учитывать форму, толщину, расположение точек подъема, вес и другие характеристики железобетонных элементов.
HULK Metal занимается производством и продажей подъемных муфт для сборного железобетона с 2006 года и накопила богатый опыт. Мы создали полную цепочку поставок и сформировали профессиональную команду для предоставления высококачественной продукции и услуг. Наши подъемные муфты прошли сертификацию CE и выдерживают испытания на разрушение с 5-кратным запасом прочности. Здесь вы можете ознакомиться с нашим ассортиментом продукции, производственными мощностями и сервисными возможностями.
HULK Metal предлагает широкий ассортимент подъемных крюков классов прочности G60, G70 и G80 с отлаженной цепочкой поставок. Мы располагаем передовым кузнечным заводом и интегрированным конвейерным производством. Качество подъемных крюков гарантировано, и мы предлагаем три вида обработки поверхности: электрогальваническое цинкование, горячее цинкование и порошковое покрытие. Мы строго соблюдаем стандарты управления ISO 9001, чтобы предоставлять вам продукцию и услуги более высокого качества. Вы можете связаться с нами в любое время, чтобы посетить завод, ознакомиться с нашими производственными и сервисными возможностями и разместить заказ, когда будете полностью удовлетворены.
Пустотообразователи используются для установки подъемных и распорных анкеров, а также других комплектующих, требующих предварительной закладки в сборные железобетонные изделия. Оставляемое ими углубление необходимо для соединения подъемной муфты с анкерами. Мы предлагаем полный ассортимент стандартных пустотообразователей и услуги OEM для специальных требований.
Магнитные фиксаторы для сборного железобетона — один из основных видов продукции HULK Metal. Они заслужили признание клиентов благодаря высокому качеству и разумной цене. В наших фиксаторах используются высокоэффективные и долговечные неодимовые магниты (NdFeB). Применение передовых технологий позволяет эффективно повышать производительность и снижать затраты, гарантируя при этом безупречное качество продукции. Мы предоставляем услуги по обеспечению качества, поэтому вы можете совершать закупки с полной уверенностью.
HULK Metal также специализируется на OEM-услугах по производству анкерных каналов, Т-образных болтов, тросовых коробок, кронштейнов для крепления камня и других комплектующих. Анкерные каналы могут быть изготовлены из холоднокатаной, горячекатаной и нержавеющей стали. Т-образные болты производятся из углеродистой, легированной и нержавеющей стали. Наши тросовые коробки оснащены одним тросом, а кронштейны для крепления камня изготавливаются исключительно под заказ (OEM). Мы разработаем оптимальное решение в соответствии с вашими требованиями, чтобы гарантировать соблюдение сроков поставки, качества и цены.
HULK Metal предлагает высококачественные анкеры с «лапкой», разработанные для безопасного подъема сборных железобетонных изделий. Наши стержневые подъемные анкеры, сертифицированные по стандартам CE и ISO 9001, гарантируют трехкратный запас прочности, сокращенные циклы производства и оперативную доставку.
Компания HULK Metal поставила десятки миллионов анкерных штифтов грузоподъемностью от 1,3 до 32 тонн сотням покупателей по всему миру. Мы предлагаем полный ассортимент продукции и отлаженную цепочку поставок, чтобы обеспечить вам качественное обслуживание. Мы предоставляем услуги по контролю качества. Пожалуйста, обращайтесь с вопросами.
Компания HULK Metal производит анкерные штифты (типа «собачья кость»), соответствующие самым высоким стандартам и отвечающие самым высоким требованиям к подъему сборных железобетонных конструкций. Мы предлагаем комплексные решения для OEM-производителей, от проектирования и производства до обработки поверхности и доставки, гарантируя, что каждый анкер обладает превосходной прочностью, коррозионной стойкостью и совместимостью с различными подъемными системами.
Компания HULK Metal выделяется как ведущий производитель подъемных анкеров, специализирующийся на железобетонных подъемных анкерах, соответствующих строгим требованиям сертификации CE и имеющих трехкратный запас прочности.
Надежные двухсторонние подъемные анкеры для сборного железобетона от HULK Metal обеспечивают безопасный подъем, повышенный коэффициент прочности и коррозийную стойкость. Продукция полностью соответствует стандартам CE и ISO 9001, отвечая самым строгим требованиям строительной отрасли по всему миру.
Долговечные подъемные анкеры с шаровидной головкой от HULK Metal, сертифицированные по стандартам CE, обеспечивают надежную грузоподъемность и коррозионную стойкость, гарантируя безопасный и эффективный подъем сборных железобетонных конструкций с быстрой доставкой и гарантией качества.
Подъемные штифты для сборного железобетона, поставляемые компанией HULK Metal, имеют сертификат CE. Мы можем поставлять подъемные штифты, которые проходят испытание на растяжение с трехкратным превышением коэффициента запаса прочности и строго соответствуют стандарту ISO 9001, обеспечивая высокое качество продукции.
Анкер с коротким волнистым хвостом — это компактное высокопрочное грузоподъемное решение для сборных железобетонных элементов. Его волнообразный хвост из арматуры обеспечивает равномерное распределение нагрузки, предотвращает растрескивание бетона и надежно соединяется с резьбовыми втулками или подъемными вставками для безопасной и эффективной работы.
Анкер с волнистым хвостовым оперением изготавливается из высокопрочной стальной трубы и арматурного профиля, экструдированного после гибки. Диапазон его рабочей нагрузки составляет от 0,5 до 8,0 тонн. Существует два стандарта резьбы: M и RD.
HULK Metal — известный китайский поставщик высококачественных и экономически выгодных резьбовых закладных деталей для подъема ЖБИ. Благодаря отлаженной цепочке поставок и профессиональной команде мы поставляем клиентам по всему миру анкеры с плоским основанием, цельностержневые анкеры, трубчатые анкеры и другие виды изделий. Мы обеспечиваем полный комплекс услуг по контролю качества. Будем рады вашему запросу.
HULK Metal является одним из ведущих поставщиков высококачественных подъемных закладных деталей с плоским концом в Китае. Чтобы обеспечить лучший сервис и качество продукции, мы сформировали полную цепочку поставок. Мы строго придерживаемся стандартов управления ISO 9001 и за годы развития наладили выпуск полного ассортимента закладных деталей с плоским концом, сертифицированных по стандарту CE.
Подъемные закладные детали из цельного прутка, поставляемые HULK Metal, прошли сертификацию CE. Они выдерживают испытания на растяжение с трехкратным коэффициентом безопасности. Мы строго соблюдаем стандарты ISO 9001 при управлении всей цепочкой поставок, чтобы гарантировать вам высокое качество продукции и сервиса.
Прочные стержневые крепежные элементы встраиваются в сборный железобетон для надежного резьбового соединения. Изготовленные из прочных стальных стержней, на одном конце имеется резьба для крепления, а на другом – отверстие для арматуры, что повышает структурную целостность.
Комбинированное подъемное гнездо сочетает в себе анкерный штифт и резьбовое гнездо, обеспечивая прочное и надежное соединение для подъема и перемещения сборных железобетонных элементов в строительных и инфраструктурных проектах.
Плоский анкер с фиксирующим штифтом от HULK Metal оснащен надежной поперечной перекладиной для повышения стабильности нагрузки. Изготовленный в соответствии со стандартами CE и ISO 9001, он обеспечивает исключительную прочность, коррозионную стойкость и надежность для различных задач по подъему сборного железобетона.
Анкерные гильзы с изогнутым концом, также известные как анкерные вставки с изогнутым концом, являются важными элементами для анкеровки в сборном железобетоне. Эти гильзы обеспечивают надежные точки крепления элементов, а их изогнутая конструкция улучшает сцепление и устойчивость.
Трубчатые подъемные вставки, поставляемые компанией HULK Metal, прошли сертификацию CE. Трубчатые подъемные вставки выдерживают испытание на растяжение с трехкратным запасом прочности, и каждая партия продукции сопровождается подробным протоколом испытаний.
Компания HULK Metal может предоставить вам длинные волнистые подъемные вставки стандарта RD и M с резьбой 12-45 и рабочей нагрузкой от 0,5 до 8 тонн. Они соответствуют международному стандарту CE и должны пройти испытание на растяжение с трехкратным запасом прочности.
Компания HULK Metal производит прочные цельнолитые крепежные элементы с поперечными штифтами и вставками с поперечными балками для сборного железобетона. Продукция сертифицирована по стандартам CE и ISO 9001, отличается высокими показателями безопасности и быстрой доставкой крупных заказов.
HULK Metal предлагает анкерные гильзы с плоским концом премиального качества, разработанные для безопасного и эффективного перемещения сборных железобетонных элементов. Изготовленные из высокопрочной легированной стали и сертифицированные по стандартам CE и ISO 9001, эти подъемные вставки обеспечивают исключительную грузоподъемность и коррозийную стойкость.
Трубчатые подъемные анкеры HULK Metal, изготовленные из высококачественной или нержавеющей стали, обеспечивают надежные резьбовые соединения в сборном железобетоне. Сертифицированные по стандарту CE и прошедшие прецизионную обработку, они гарантируют стабильную работу при подъеме, исключительную долговечность и соответствие строгим требованиям безопасности для различных строительных нужд.
Длинная волнистая подъемная муфта сочетает в себе резьбовую стальную трубу и арматурный стержень с волнистым концом для обеспечения более глубокой передачи напряжений в сборном железобетоне. Разработанная для тяжелых подъемных работ, она соответствует стандартам CE и ISO 9001 и обеспечивает четырехкратный запас прочности.
Q345/20#/Нержавеющая сталь/Другие
Оцинкованная/Черная
8~52
≥3
Плоские подъемные кронштейны встраиваются в сборный железобетон для обеспечения надежной фиксации при подъеме. Конструкция включает резьбовой конец для крепления муфты и широкое основание для распределения нагрузки; доступны в оцинкованном исполнении для дополнительной прочности.
Крепежные гнезда с плоским концом, также известные как крепежные вставки с плоским концом, надежно фиксируются в сборном железобетоне. Изготовленные из прочной стали, они имеют плоский конец для удобства установки и резьбовую внутреннюю часть для болтов.
Пластинчатые уширенные анкеры HULK Metal имеют конструкцию с приваренной стальной пластиной и головкой, предназначенную для анкеровки в бетоне при подъеме за ребро. Доступные в различных размерах с вариантами гальванического покрытия, они обеспечивают безопасную нагрузку до 10 тонн.
Односторонние монтажные анкеры служат специализированными грузоподъемными закладными деталями для сборного железобетона, предназначенными для односторонней нагрузки при монтаже элементов. Они интегрируются с кольцевыми муфтами и пустотообразователями, обеспечивая устойчивые точки крепления, которые повышают безопасность и снижают напряжение в панелях при проведении строительных работ.
HULK Metal поставляет плоские анкеры, изготовленные из высококачественных сплавов, для надежного подъема в проектах по всему миру, связанных со сборным железобетоном.
HULK Metal является надежным поставщиком анкеров для монтажа в Китае, поставляя продукцию высокого стандарта для подъема сборного железобетона. Наши анкеры обеспечивают безопасную эксплуатацию благодаря превосходной прочности и коррозионной стойкости, что подкрепляется комплексной производственной поддержкой для оптовых заказов.
Компания HULK Metal поставляет анкерные крепления, сертифицированные по стандартам CE и ISO9001, с надежными коэффициентами безопасности, быстрой доставкой и профессиональной поддержкой. Выбирайте наши анкерные крепления для получения высококачественных и комплексных решений по подъему сборных железобетонных конструкций.
Компания HULK Metal поставляет высококачественные двухточечные анкеры, предназначенные для надежного подъема сборных железобетонных элементов. Наши анкеры, сертифицированные по стандартам CE и ISO 9001, гарантируют безопасность, долговечность и эффективность.
Кольцевая муфта , поставляемая HULK Metal, сертифицирована CE и способна пройти испытание на растяжение с коэффициентом безопасности 5. Мы интегрировали полную цепочку поставок и сформировали полноценную команду для предоставления лучших продуктов и услуг.
Подъемные проушины для сборного железобетона от HULK Metal, также известные как подъемные муфты или подъемные петли, разработаны с высокой точностью для тяжелых подъемных работ. Изготовленные из высокопрочных материалов, они обеспечивают безопасность, долговечность и эффективность при подъеме сборного железобетона по всему миру.
Высококачественная подъемная петля в форме собачьей кости с сертификатами CE и ISO9001. Прочная, безопасная и долговечная для подъема сборных железобетонных конструкций. Более короткий производственный цикл и быстрая доставка от надежного китайского поставщика HULK Metal.
HULK Metal поставляет сертифицированные по стандартам CE и ISO 9001 подъемные муфты для штифтовых анкеров с пятикратным запасом прочности, сокращенными циклами производства и полной послепродажной поддержкой для глобальных проектов в сфере сборного железобетона.
Подъемное кольцо типа "собачья кость" с цепью, поставляемое компанией HULK Metal, прошло испытание на пятикратный запас прочности и имеет сертификат CE. Мы можем обеспечить грузоподъемность от 1,3 до 20 тонн.
Кольцевая муфта, поставляемая компанией HULK Metal, имеет сертификат CE и проходит испытание на растяжение с коэффициентом запаса прочности 5. Мы создали полную цепочку поставок и сформировали сплоченную команду для предоставления более качественных продуктов и услуг.
Подъемные Петли для ЖБИ поставляемые HULK Metal, прошли сертификацию CE и ISO 9001, а также успешно выдерживают испытания с 5-кратным коэффициентом запаса прочности. HULK Metal — опытный производитель в Китае. Будем рады вашему запросу.
Q345/35CrMo/Другие
Оцинкованная/Черная/Порошковое покрытие
1,3~32,0
≥5
Точное литье
HULK Metal обладает развитой цепочкой поставок, что позволяет предлагать вам полный ассортимент крюков с вилочным сопряжением (Clevis Slip Hooks), включая классы прочности G43, G70, G80, с маркировкой CE, с предохранительным замком или без него, а также с электрогальваническим, горячим цинкованием или порошковым покрытием.
Мы поставили клиентам в более чем 100 стран и регионов мира укорачивающие крюки с вилочными захватами с головкой G43 70 80 G43 70 80 коэффициент безопасности от 2 до 4 кратнее.
Компания HULK Metal — опытный поставщик крюков-захватов в Китае. Мы создали полную цепочку поставок и сформировали профессиональную команду для предоставления более качественных продуктов и услуг. Мы можем предложить крюки-захваты различных спецификаций и с различной обработкой поверхности.
Компания HULK Metal — опытный поставщик в Китае, предлагающий крюки с проушиной из различных материалов, различной прочности, с сертификатами, обработкой поверхности и размерами. Мы создали полную цепочку поставок, чтобы обеспечить контроль над сырьем, производством и доставкой, гарантируя высокое качество и низкую стоимость подъемных крюков.
Анкерное углубление — важный компонент для точного позиционирования подъемных анкеров в сборных железобетонных элементах. Компания HULK Metal поставляет анкерные углубления из различных материалов и в различных конфигурациях, чтобы соответствовать различным подъемным системам и методам производства.
Компания HULK Metal поставляет высококачественные резиновые опалубочные формы для подъемных систем из сборного железобетона. Они используются с опалубочными формами для анкерных и анкерных креплений, обеспечивая точное формирование углублений, сокращение производственных циклов и ускоренную доставку.
HULK Metal поставляет надежные пуансоны для сферических подъемных анкеров, предназначенные для производства сборных железобетонных изделий. Мы предлагаем широкий размерный ряд для нагрузок от 1,3 до 32 тонн, подтвержденный сертификатами CE и ISO 9001. Наши клиенты получают сокращенные сроки производства и комплексную поддержку при оптовых заказах.
Компания HULK Metal предлагает широкий выбор сборных магнитных профилей. Благодаря высокому качеству и доступной цене, это ваш лучший выбор.
Резиновая опалубка для анкерных болтов изготовлена из прочной резины с усиленной задней металлической пластиной. Она предназначена для крепления анкерных болтов в сборном железобетоне, обеспечивая точное позиционирование, легкое извлечение и надежную подъемную работу.
Являясь одним из ведущих поставщиков магнитных выемкообразователей в Китае, HULK Metal располагает современными заводами и совершенной цепочкой поставок, чтобы предоставить вам высококачественную продукцию и услуги.
HULK Metal предлагает сертифицированные по стандарту CE магнитные держатели для подъемных и фиксирующих закладных деталей или анкерных втулок. Наш завод оснащен современным станочным парком, установками лазерной резки и сборочными линиями, что позволяет максимально эффективно производить сертифицированные CE магнитные держатели для анкерных втулок и закладных деталей (Precast Lifting Fixing Insert Socket Magnet) с более высоким коэффициентом выхода годной продукции.
Магниты для фиксации электрических коробок от HULK Metal имеют прочный резиновый корпус в сочетании с мощными неодимовыми магнитами NdFeB, что обеспечивает надежную фиксацию электрических коробок в сборном железобетоне. Эти магниты могут быть изготовлены на заказ по форме, размеру и отделке, что обеспечивает гибкость при оптовых заказах.
Наши Магнитные Системы для Опалубки разработаны для производства сборного железобетона, предлагая многоразовые и стабильные решения для фиксации. Они поддерживают различные размеры форм и обеспечивают лучшую экономическую эффективность для крупномасштабных строительных проектов.
Наш встроенный магнит для фиксации гофрированных труб сочетает в себе корпус из высококачественной стали с мощными магнитами для обеспечения надежной фиксации при производстве сборного железобетона. Он сокращает время монтажа, повышает эффективность и обеспечивает стабильную работу в различных областях применения, помогая клиентам получать более безопасные и надежные бетонные элементы.
Стальные закладные пластины являются важными компонентами, используемыми для создания прочных и надежных точек соединения в сборных железобетонных конструкциях. Являясь опытным производителем в Китае, HULK Metal поставляет закладные детали для бетона, обеспечивая стабильное качество, гибкую кастомизацию и неизменные производственные мощности.
Т-образные болты для анкерных каналов от HULK Metal изготавливаются методом прецизионной ковки из высокоэффективной легированной или нержавеющей стали. Варианты обработки поверхности, включая электроцинкование или горячее цинкование, значительно повышают устойчивость к коррозии, что делает их надежным решением для соединений в сборном железобетоне при реализации строительных и инфраструктурных проектов.
Анкерные каналы HALFEN от HULK Metal обеспечивают превосходное качество, соответствуют стандартам сертификатов CE и ISO и обладают пятикратным коэффициентом безопасности. Наше быстрое производство и доставка в сочетании с профессиональной послепродажной поддержкой делают оптовые закупки простыми и надежными.
Наименование: Петлевой бокс для сборного железобетона
Пресс-формы: Полный ассортимент форм
Материалы: Стальной трос / Стальной лист / По индивидуальному заказу
SL (мм) ±10: 60 / 80 / 100 / 120 / 140
Наши анкерные каналы обеспечивают превосходную прочность, сертифицированную безопасность и гибкость применения в сборном железобетоне. Изготовленные с использованием передовых процессов, они гарантируют долговечность, упрощенный монтаж и быструю доставку. HULK Metal предоставляет оптовым покупателям полное техническое обслуживание и надежную послепродажную поддержку.
Наши саморезы для бетона разработаны для надежной установки без использования анкерных креплений. Оцинкованные саморезы для бетона обеспечивают превосходную коррозионную стойкость, что делает их идеальными для использования внутри и снаружи помещений. Компания HULK Metal предлагает широкий выбор размеров, вариантов обработки поверхности и индивидуальных решений, соответствующих вашим потребностям.
Q345/20#/Нержавеющая сталь/Другие
Оцинкованная сталь
0,8~25,0
6~32
≥3
Металлические подъемные петли HULK изготовлены из легированной или углеродистой стали, имеют прецизионную резьбу и электрооцинкованы для защиты от коррозии. Предназначенные для использования с подъемными муфтами, они обеспечивают безопасное и надежное перемещение сборных железобетонных элементов с коэффициентом запаса прочности ≥4.
Анкерный болт для крепления пластин, производимый компанией HULK Metal, отличается хорошим качеством.
Как ведущий поставщик услуг в сфере металлообработки, мы стремимся к тому, чтобы каждый клиент чувствовал полную уверенность и безопасность на всех этапах — от закупки до реализации. Мы помогаем партнерам эффективнее раскрывать свой потенциал, непрерывно устанавливая новые стандарты качества продукции и сервиса.
Китай, Циндао, ул. Чуньян, 86, здание Интеллектуального парка А, офис 901, 266109
© 2025 HULK Metal Все права защищены. Все права защищены.
